MT2625这款物联网芯片是现在比较火的,很多工程师在做MT2625平台的开发,下面是在闯客网论坛中下载的规格书,现在分享给大家。
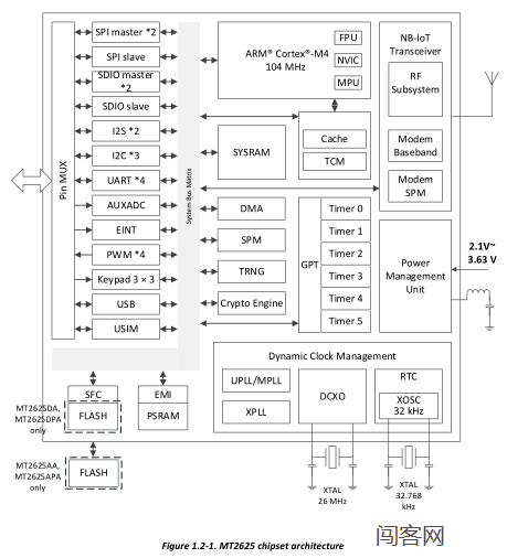
mt2625是一种高度集成的芯片组,具有应用程序处理器,一种低功率多波段窄带物联网收发机和电源管理单元(pmu)。
mt2625是基于手臂的,带有浮点微控制器单元(闯客网),与4mb psram集成以及4mb闪存。mt 2625还支持包括uart,i2c,spi,i2s,pwm,sdio,adc,usb,

基巴和尤西姆。
nb-iot收发报机包含3gpp r13/r14无线电,基带和mac,设计用于满足低功率以及延长电池使用寿命的要求.
还有一些MT2625参考设计资料在这里
http://bbs.uuzcc.com/thread-199023-1-1.html

MT2625 是联发科技精心打造的第一款 NB-IoT 专属芯片,具备超高集成度,将 arm Cortex-M 微控制器(MCU)、伪静态随机存储器(PSRAM)、闪存与电源管理单元(PMU)整合在同一芯片平台上。高集成度不仅带来了更小巧的封装尺寸,而且有助于降低芯片成本和加快上市时间,满足对成本敏感及小体积的物联网设备的需求。此外,延续联发科技芯片在整体功耗控制方面的一贯优势,MT2625 通过在 MCU 和 PSRAM 等组件上加载联发科技特有的低功耗技术,使得采用该方案的物联网设备,能够搭配免充电电池达到长时间待机,符合低功耗广域物联网的要求。

MT2625是联发科推出旗下首款 NB-IoT(窄带物联网)系统单芯片(SoC),并携手中国移动打造业界尺寸最小(16mm X 18mm)的 NB-IoT 通用模组,以超高集成度为海量物联网设备提供兼具低功耗及成本效益的解决方案。该方案支持 3GPP NB-IoT(R13 NB1, R14 NB2)的 450MHz-2.1GHz 全频段运作,适合全球范围内智能家居、物流跟踪、智能抄表等静态或移动型物联网应用

功能:系统:RTOS 尺寸:16mm X 18mm 集成:ARM Cortex-M 微控制器(MCU)+伪静态随机存储器(PSRAM)+闪存与电源管理单元(PMU) 频段:支持 全球网络全频段的450MHz-2.1GHz 接口:安全数字输入输出模块(SDIO)、通用异步收发传输器(UART)、I2C 传输协议、I2S、序列外围接口(SPI)及脉冲宽度调制(PWM)
来自 “ ITPUB博客 ” ,链接:http://blog.itpub.net/31535481/viewspace-2214193/,如需转载,请注明出处,否则将追究法律责任。
转载于:http://blog.itpub.net/31535481/viewspace-2214193/
最后
以上就是帅气花瓣最近收集整理的关于MTK2625芯片资料/MT2625芯片资料MT2625芯片原理图的全部内容,更多相关MTK2625芯片资料/MT2625芯片资料MT2625芯片原理图内容请搜索靠谱客的其他文章。
发表评论 取消回复