MT2625这款物联网芯片还是挺火的,很多工程师在做这个平台开发,下面是在一牛网论坛中下载的规格书,现在分享给大家。
MT2625 datasheet:

以下介绍MT2625 datasheet资料里的部分内容
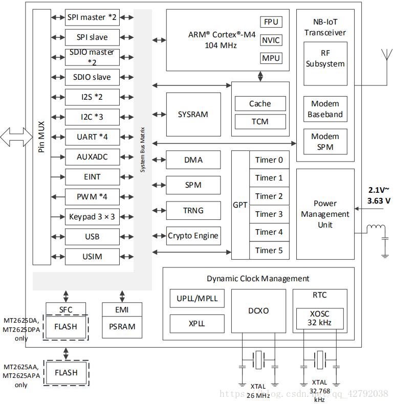
MTK MT2625是一种高度集成的芯片组,具有应用处理器、低功耗的多波段窄带物联网收发器和电源管理单元(PMU)。
MT2625基于ARM Cortex-M4,带有浮点微控制器单元(MCU),集成了4MB pSRAM和4MB闪存。MT 2625还支持UART、I2C、SPI、I2S、PWM等接口。SDIO,ADC,USB,键盘和USIM。
NB-IoT收发器包含3 GPP R13/R14无线电、基带和MAC,旨在满足低功耗和延长电池寿命的应用要求。
MT2625芯片组结构:

此外,MT2625参考设计资料已经上传到我的CSDN资源界面了,有需要的可以进入下载。
最后
以上就是舒心抽屉最近收集整理的关于NB-IoT芯片MT2625_datasheet/规格书资料的全部内容,更多相关NB-IoT芯片MT2625_datasheet/规格书资料内容请搜索靠谱客的其他文章。
本图文内容来源于网友提供,作为学习参考使用,或来自网络收集整理,版权属于原作者所有。
发表评论 取消回复