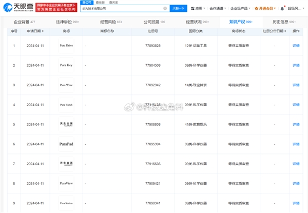
靠谱客5月24日消息,据公开资料显示,华为技术有限公司日前申请注册多个Pura系列商标。

其中包括PuraPad、Pura Drive、Pura Key、Pura Watch、PuraView、Pura Ultra、Pura Wear等,国际分类包括运输工具、科学仪器、珠宝钟表。

pura全家桶来了!华为注册pura pad、pura watch等多个商标

值得注意的是,前不久华为还被发现注册了PuraOS”商标,当前状态为等待实质审查。

从这一系列动作来看,华为或许会将Pura打造成一个完善的体系,类似子品牌,拥有全套的独立产品体系

甚至还会打造独立系统,基于鸿蒙改版,与Mate系列等其他机型做出区分。

当然,华为此举也可能仅仅是商标保护,具体还要等待官方揭晓。

华为此前在4月15日正式宣布P系列正式升级为Pura系列,P系列在上市12周年的日子正式落幕,开启新生。

(举报)

点赞(104)

评论列表共有 0 条评论

立即
投稿
返回
顶部