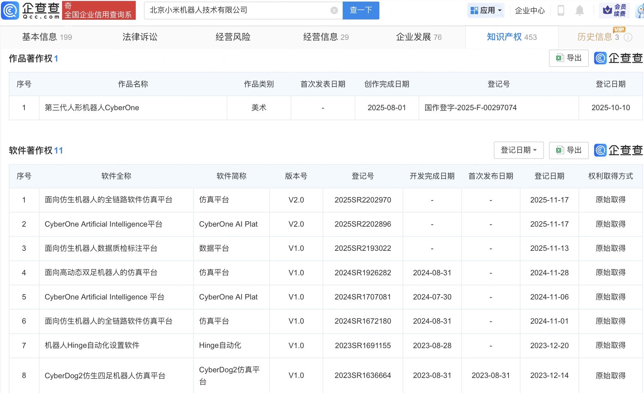
据报道,近日,小米公布了人形机器人在汽车工厂自主作业的视频,其已经能够连续工作3个小时。企查查APP显示,去年10月,北京小米机器人技术有限公司登记“第三代人形机器人CyberOne”作品著作权,作品类别为美术

01e8ef62bde1f7f47918dcff9223cf4f.jpg

此外,该公司还拥有“面向仿生机器人的全链路软件仿真平台”“面向仿生机器人数据质检标注平台”“CyberDog2仿生四足机器人仿真平台”软件著作权。

点赞(7)

评论列表共有 0 条评论

立即
投稿
返回
顶部