udev是什么
udev 是Linux kernel 2.6系列的设备管理器。它主要的功能是管理/dev目录底下的设备节点。它同时也是用来接替devfs及hotplug的功能,这意味着它要在添加/删除硬件时处理/dev目录以及所有用户空间的行为,包括加载firmware时。
udev系统由三个部分组成:
libudev函数库,可以用来获取设备的信息,/usr/include/libudev.h。
udevd守护进程,处于用户空间,用于管理虚拟/dev
管理命令udevadm,用来诊断出错情况,/usr/bin/udevadm。
udev运行方式
udev是一个通用的内核设备管理器。它以守护进程的方式运行于Linux系统,并监听在新设备初始化或设备从系统中移除时,内核(通过netlinksocket)所发出的uevent。
系统提供了一套规则用于匹配可发现的设备事件和属性的导出值。匹配规则可能命名并创建设备节点,并运行配置程序来对设备进行设置。udev规则可以匹配像内核子系统、内核设备名称、设备的物理等属性,或设备序列号的属性。规则也可以请求外部程序提供信息来命名设备,或指定一个永远一样的自定义名称来命名设备,而不管设备什么时候被系统发现。下一部分介绍怎么通过编写udev规则文件来管理udev设备
Udev工作流程

udev规则文件编写
主要的udev配置文件是/etc/udev/udev.conf。这个文件通常很短,可能只是包含几行#开头的注释,然后有如下选项:
udev_root=“/dev/”
udev_rules=“/etc/udev/rules.d/”
udev_log=“err“
其中udev_rules非常重要,表示udev规则存储的目录,这个目录存储的是以.rules结束的文件。每一个文件处理一系列规则来帮助udev分配名字给设备文件以保证能被内核识别。/etc/udev/rules.d下面可能有好几个udev规则文件,这些文件一部分是udev包安装的,另外一部分则是可能是别的硬件或者软件包生成的。
下面介绍udev规则文件的语法。

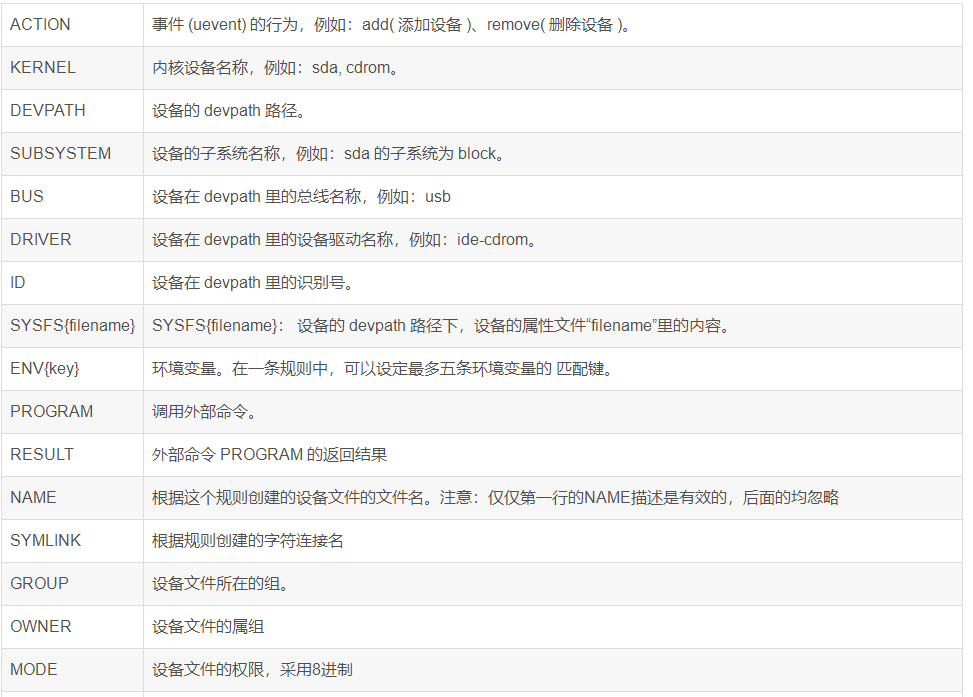
udev常用的匹配赋值键

libudev说明
前面大致了解了udev相关的功能和原理,下面将描述如何通过libudev来实现相关功能。
libudev提供了在本地系统上检测、枚举设备的各种API函数。
Libudev使用过程如下
(参考: http://blog.csdn.net/coroutines/article/details/38067805)
- 初始化
首先调用udev_new,创建一个udev library context。udev library context采用引用记数机制,创建的context默认引用记数为1,使用udev_ref和udev_unref增加或减少引用记数,如果引用记数为0,则释放内部资源。
- 枚举设备
使用udev_enumrate_new创建一个枚举器,用于扫描系统已接设备。使用udev_enumrate_ref和udev_enumrate_unref增加或减少引用记数。
使用udev_enumrate_add_match/nomatch_xxx系列函数增加枚举的过滤器,过滤关键字以字符表示,如"block"设备。
使用udev_enumrate_scan_xxx系列函数扫描/sys目录下,所有与过滤器匹配的设备。扫描完成后的数据结构是一个链表,使用udev_enumerate_get_list_entry获取链表的首个结点,使用udev_list_entry_foreach遍历整个链表。
- 监控设备插拔 udev的设备插拔基于netlink实现。
使用udev_monitor_new_from_netlink创建一个新的monitor,函数的第二个参数是事件源的名称,可选"kernel"或"udev"。基于"kernel"的事件通知要早于"udev",但相关的设备结点未必创建完成,所以一般应用的设计要基于"udev"进行监控。
使用udev_monitor_filter_add_match_subsystem_devtype增加一个基于设备类型的udev事件过滤器,例如: "block"设备。
使用udev_monitor_enable_receiving启动监控过程。监控可以使用udev_monitor_get_fd获取一个文件描述符,基于返回的fd可以执行poll操作,简化程序设计。
插拔事件到达后,可以使用udev_monitor_receive_device获取产生事件的设备映射。调用udev_device_get_action可以获得一个字符串:“add"或者"remove”,以及"change", “online”, "offline"等,但后三个未知什么情况下会产生。
4、获取设备信息
使用udev_list_entry_get_name可以得到一个设备结点的sys路径,基于这个路径使用udev_device_new_from_syspath可以创建一个udev设备的映射,用于获取设备属性。获取设备属性使用udev_device_get_properties_list_entry,返回一个存储了设备所有属性信息的链表,使用udev_list_entry_foreach遍历链表,使用udev_list_entry_get_name和udev_list_entry_get_value获取属性的名称和值。
liudev识别移动设备
首先得知道什么是usb设备的VID和PID。
据USB规范的规定,所有的USB设备都有供应商ID(VID)和产品识别码(PID),主机通过不同的VID和PID来区别不同的设备,VID和PID都是两个字节长,其中,供应商ID(VID)由供应商向USB执行论坛申请,每个供应商的VID是唯一的,PID由供应商自行决定,理论上来说,不同的产品、相同产品的不同型号、相同型号的不同设计的产品最好采用不同的PID,以便区别相同厂家的不同设备。
上面提到,分别调用udev_new,udev_monitor_new_from_netlink,
udev_monitor_filter_add_match_subsystem_devtype,dev_monitor_enable_receiving,dev_monitor_get_fd,udev_monitor_receive_device函数来监控插入的设备。如下图所示

最后
以上就是追寻心情最近收集整理的关于Linux udev识别移动设备的全部内容,更多相关Linux内容请搜索靠谱客的其他文章。
发表评论 取消回复